1 概述
图表能够将数据更加直观、形象的呈现给用户,方便对比和查看数据的变化趋势,有利于数据分析和决策。
2 示例效果
本文主要以柱形图为例讲述如何快速创建一张基础图表,示例效果如下图:
上方为各行业税额统计表,下方各行业税额柱状统计图。
3 制作步骤
3.1 模板准备
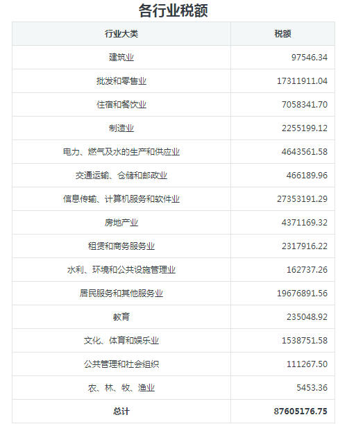
首先,准备一张制作好的普通报表,如下图:
3.2 添加图表
先合并一片单元格区域,并增加行高,再将该单元格的单元格属性“单元格类型”设置为“图表”,如下图:
选择需要的图表类型(图表的可选类型在不断地扩充,目前看到的如下图示范),该示例需要选择“柱状图”,如下图:
3.3 图表配置
“柱状图”可设置图表的属性包括:数据来源、分类、系列、标题、X轴、Y轴、图例等。
2.3.1 绑定数据
选择Chart所展示的数据的来源,该示例选择“单元格”,如下图所示
2.3.2 设置分类
数据来源于单元格,[分类标题]和[分类名称]均输入单元格“A3”。设置如下图:
2.3.3 设置系列
[系列名称]和[显示名称]均输入单元格“B2”,[取数区域]为“B3”,设置如下图:
2.3.4 设置标题
设置[主标题]为“各行业税额汇总表”,[副标题]为“=@年份+”年”+@月份+”月””,表示某年某月各行业的税额汇总。设置如下图:
2.3.5 设置X轴/Y轴
1)X轴设置
X轴名称:输入“行业大类”;
间隔类型:选择“全部显示”;
旋转角度:设置“30”度。
2)Y轴设置
[Y轴名称]设置为“税额(单位:元)”,如下图:
2.3.6 选择图表主题
[图表主题]选择“柔和”,可以实时查看主题应用效果,如下图:
3.4 预览
保存报表,点击[预览],效果如下图所示:
作者:fancy 创建时间:2025-09-09 16:56
最后编辑:fancy 更新时间:2025-09-30 12:01
最后编辑:fancy 更新时间:2025-09-30 12:01
